第三種電気主任技術者(電験三種) 過去問
令和7年度(2025年)上期
問22 (理論 問18(b))
問題文
エミッタホロワ回路について、次の問に答えよ。
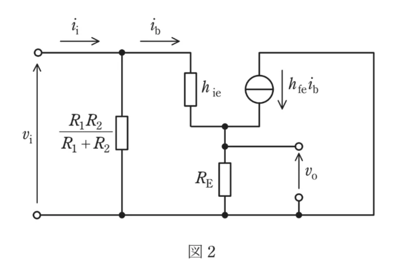
図2は、エミッタホロワ回路の交流等価回路である。ただし、使用する周波数において図1の二つのコンデンサのインピーダンスが十分に小さい場合を考えている。ここで、hie=2.5kΩ,hfe=300であり、REは 前問 で求めた値とする。入力インピーダンスvi/iiの値[kΩ]として、最も近いものを次の選択肢のうちから一つ選べ。ただし、viとiiはそれぞれ図2に示す入力電圧と入力電流である。
このページは閲覧用ページです。
履歴を残すには、 「新しく出題する(ここをクリック)」 をご利用ください。
問題
第三種電気主任技術者(電験三種)試験 令和7年度(2025年)上期 問22(理論 問18(b)) (訂正依頼・報告はこちら)
エミッタホロワ回路について、次の問に答えよ。
図2は、エミッタホロワ回路の交流等価回路である。ただし、使用する周波数において図1の二つのコンデンサのインピーダンスが十分に小さい場合を考えている。ここで、hie=2.5kΩ,hfe=300であり、REは 前問 で求めた値とする。入力インピーダンスvi/iiの値[kΩ]として、最も近いものを次の選択肢のうちから一つ選べ。ただし、viとiiはそれぞれ図2に示す入力電圧と入力電流である。
- 2.0
- 15
- 80
- 300
- 750
正解!素晴らしいです
残念...
この過去問の解説 (1件)
01
この問題は、エミッタホロワ回路の交流等価回路から入力インピーダンスを求めるものです。
入力端子から見た回路には、トランジスタの入力側インピーダンスと、バイアス抵抗R1とR2の並列合成抵抗が存在し、これらは並列に接続されています。
したがって、入力インピーダンスはこれら二つの並列合成として求めます。
トランジスタ側の入力インピーダンスは
hie+(1+hfe)RE=2.5kΩ+301×2.7kΩ≈815kΩと非常に大きくなります。
一方、R1とR2の並列合成抵抗は2.0kΩであり、両者は並列接続されているため、全体の入力インピーダンスは小さい方に近い値になります。
よって入力インピーダンスは約2.0kΩとなります。
この選択肢は正解です。
15kΩは、R1とR2の並列合成抵抗2.0kΩよりも大きく、入力インピーダンスとしては過大です。
この選択肢は誤りです。
80kΩは、トランジスタ側の入力インピーダンスと比較すると小さいものの、R1とR2の並列合成抵抗によって入力インピーダンスが制限されるため、この値にはなりません。
この選択肢は誤りです。
300kΩは電流増幅率hfeの値に近く、入力インピーダンスの計算結果として妥当ではありません。
この選択肢は誤りです。
750kΩ程度の値は、バイアス抵抗R1とR2の影響を無視した場合にのみ成立します。
しかし実際にはR1とR2の並列合成抵抗が入力端子に接続されているため、このような大きな値にはなりません。
この選択肢は誤りです。
参考になった数5
この解説の修正を提案する
前の問題(問21)へ
令和7年度(2025年)上期 問題一覧
次の問題(問23)へ